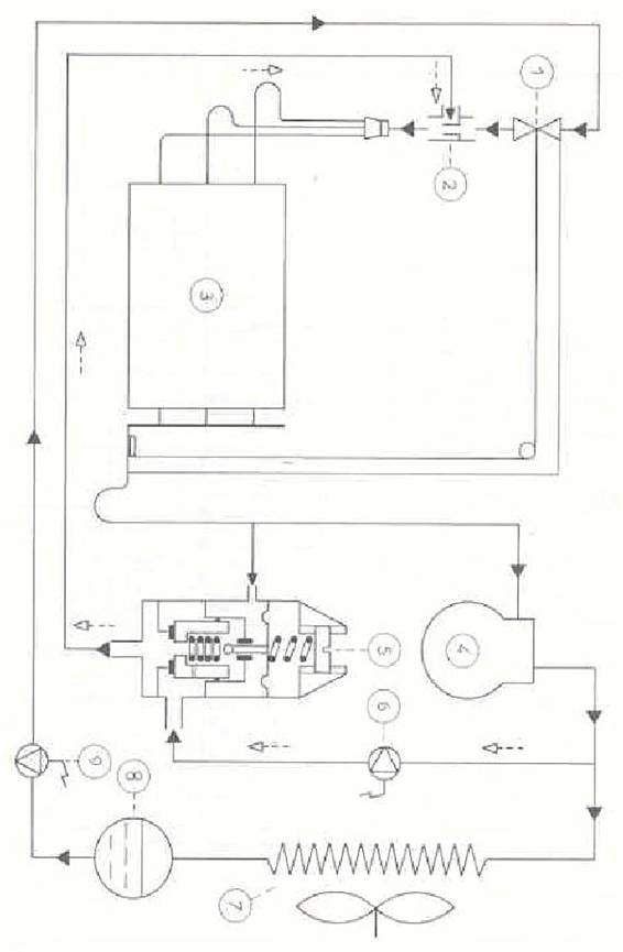
Schéma Fluidique
1. Détendeur thermostatique à égalisation de pression externe.
2. Mélangeur gaz chauds/liquide. Ce mélangeur a pour but de créer un mélange homogène, des gaz chauds venant du régulateur de capacité et du liquide venant du détendeur thermostatique. de manière à ne pas perturber la fonction du distributeur deliquide
3. Evaporateur refroidisseur d'air.
4. Compresseur.
5. Régulateur de capacité. Ce régulateur (type CPCE Danfoss) a pour but d'adapter la capacité du compresseur à la charge du moment de l'évaporateur. Quand la charge de l'évaporateur et donc du compresseur diminue, la pression d'aspiration du compresseur baisse. Cette baisse de la basse pression fait ouvrir le régulateur et permet d'apporter à l'aspiration la charge complémentaire nécessaire, sous forme de gaz chauds venant du refoulement
6. Robinet électromagnétique. Robinet électromagnétique Y2 sur le schéma électrique. Ce robinet électromagnétique permet de fermer le circuit du régulateur de capacité (ouverture du contact 23-24 de KA1) dès que le thermostat n'est plus en demande de froid. Avec une régulation par tirage au vide unique, "arrêt du groupe se fait par ouverture du pressostat basse pression et donc par baisse de la pression d'aspiration; il faut donc fermer le circuit du régulateur de capacité pour que le groupe s'arrête.
7. Condenseur à air.
8. Réservoir de liquide.
9. Robinet électromagnétique liquide. Robinet électromagnétique Y1 sur le schéma électrique
SCHÉMA ÉLECTRIQUE
NIL 1 : alimentation du circuit de commande entre phase et neutre.
Q1 : contacts de précoupure du sectionneur à fusibles général.
F1 : disjoncteur magnéto-thermique unipolaire + neutre (1 pôle protégé et 1 pôle coupé) assurant la protection du circuit de commande,
P : interrupteur horaire (« pendule de dégivrage »).
S1 : auxiliaire manuel « coup de poing » à accrochage, « arrêt d'urgence »I.
F2 : contact du relais thermique de protection du moteur du ventilateur de l'évaporateur.
KM1 : organe dg commande (bobine) du contacteur d'alimentation du moteur du ventilateur de l'évaporateur.
F3 : contact du relais thermique de protection du moteur du groupe.
B1 : pressostat haute pression de sécurité.
B2 : thermostat de régulation.
KA1 : relais de mise à vide.
H1 : voyant lumineux, signalisation de la position « dégivrage ».
F4 : fusible de protection du robinet électromagnétique Yl.
Y1 : robinet électromagnétique liquide. Robinet électromagnétique 9 sur le schéma frigorifique.
Y2 : robinet électromagnétique monté sur la conduite de by-pass du régulateur de capacité. Robinet électromagnétique 6 sur le schéma frigorifique.
F5 : fusible de protection du robinet électromagnétique Y2.
B3 : pressostat basse pression de régulation.
KM2 : organe de commande (bobine) du contacteur d'alimentation du moteur du group
vendredi 27 mai 2011
Tirage au vide unique avec utilisation d’un régulation de capacité
Inscription à :
Publier les commentaires (Atom)
Messages les plus consultés
- APPAREILS ANNEXES DU CIRCUIT FRIGORIGÈNE
- Chambres Froides
- chauffage
- CIRCUIT FRIGORIFIQUE
- CLIMATISEUR
- DETECTEURS DE FUITE
- ELECTRICITE
- FlUIDE FRIGORIGENE
- Fluide frigorigène
- LE
- LES
- LES COMPRESSEURS
- LES CONDENSEUR
- LES DESHYDRATEUR
- LES DETENDEURS
- LES ELECTROVANNES
- LES EVAPORATEUR
- LES EVAPORATEURS
- LES PRESSOSTATS
- LES THERMOSTATS
- pompes centrifuges
- POMPES HERMETIQUES
- RESERVOIR DE LIQUIDE
- Soudage Oxyacétylènique
- TUBE CUIVRE
- VOYANT DE LIQUIDE


Aucun commentaire:
Enregistrer un commentaire